Бетононасос своими руками: сборка и монтаж
Перед тем как приступить к сборке основных узлов агрегата, необходимо составить план или схематический чертеж. Это поможет связать все конструкционные элементы в одно целое. Полезным будет техническое или инженерное образование изобретателя. Основные элементы будущего механизма — это цилиндр и поршень.
Для этих конструкционных материалов существует ряд технических условий:
- Диаметр рабочего цилиндра должен быть не менее 350-420 мм. Это поможет увеличить рабочую износостойкость материала.
- Поршневой ход бетононасоса должен составлять 0,6-0,9 м.
- Обратный клапан хода подвергается химическому воздействию бетонной смеси. Поэтому следует подбирать материал из легированных сталей. Это обеспечит физические и механические свойства металлу.
Все детали и узлы насоса выполняются на токарном станке с финишной доводкой на шлифовальном или наждачном круге. При подгонке узловых элементов точность погрешности должна составлять не менее ± 0,1 мм. Корпусная основа выполняется из листовой нержавеющей стали. Это поможет избежать коррозии и химического воздействия при любых атмосферных условиях. Подгонка клапана производится при помощи шуруповерта. Конструкция собирается гаечным ключом соответствующего диаметра, гайкой. Приводная часть механической установки будущего бетононасоса выполняется электромеханическим или гидравлическим способом.
Схема поршневого бетононасоса одностороннего действия.
Все зависит от желания и финансовых возможностей мастера. Следует учитывать, что гидропривод имеет достаточно сложную механическую структуру и большой ценовой уровень. Поэтому следует отдать предпочтение электромеханической приводной установке.
На практике применяется трехфазный асинхронный электродвигатель, который присоединяется к штоку поршневой головки. Для уменьшения нагрузки и перегрева мотора необходимо использовать редуктор с понижающим крутящим моментом и механический преобразователь. Благодаря этому круговые обороты вала двигателя преобразуются в возвратно-поступательное движение штока поршневой головки. Установочный монтаж производится следующим образом:
- на осевую основу автоприцепа устанавливается электрический двигатель с реле пускателя;
- на вал электродвигателя при помощи соединительной муфты монтируется редуктор;
- преобразователь соединяется с поршнем бетононасоса и выходным валом понижающего редуктора;
- электродвигатель присоединяется к питающему кабелю.
Это поможет избежать травм.
При сборочных и монтажных работах понадобятся следующие материалы и инструменты:
Схема привода бетононасоса.
- чертежные принадлежности;
- листовое железо до 6 мм;
- токарные заготовки для клапанов и поршня;
- металлическая труба Ø 400 мм;
- 3-фазный электродвигатель с пускателем;
- токарный станок ДИП-200;
- набор слесарных инструментов;
- редуктор с понижающим моментом;
- сварная основа или автоприцеп.
Какие бывают бетононасосы?

Выделяют несколько видов бетононасосов:
- по мобильности (стационарные и мобильные);
- по типу подачи смеси (поршневые и вакуумные).
Как уже писалось выше, наиболее популярными являются поршневые насосы. Реже используются вакуумные, бетонная смесь в них подается благодаря созданию вакуума в приемном лотке.
Стационарные бетононасосы не могут передвигаться самостоятельно, их перевозят на прицепе. Также они не имеют стрел для подачи смеси, что не всегда удобно. Мобильные установки наиболее распространены, чаще всего используют автобетононасосы и агрегаты на автомобильных шасси.
Мембранные насосы
Насос Larius Mirro Inject является полным аналогом модели Desoi LE-303. Он представляет собой надежное, высокопроизводительное устройство компактных размеров. Отличительной чертой мембранного насоса является наличие рециркуляционного шланга с шаровым краном. Он позволяет выполнять всасывание материалов высокой вязкости, а также обеспечивает сброс давления по насосу и шлангу, по которому поступает материал.Преимуществами мембранного насоса Larius Mirro Inject являются:
- износостойкая мембрана повышенной прочности, изготовленная из тефлона;
- возможность точной установки давления;
- возможность использования в качестве безвоздушного распылителя;
- специальные клапаны, подходящие для всасывания материалов высокой вязкости;
- превосходная ремонтопригодность.
Используемые материалы:
- эпоксидные смолы;
- полиуретановые составы;
- полиуретановые смолы;
- водные растворы.
Насос Larius Mirro Inject
Напряжение питания, В………………………………………………………………………..
230
Мощность двигателя, кВт………………………………………………………………………..
0,75
Рабочее давление, макс., бар………………………………………………………………………..
5 — 200
Подача насоса, л/мин…………………………………………………………………………
2,1
Oбъем бункера, л…………………………………………………………………………
5
Вес, кг…………………………………………………………………………
22
Подробнее
Насос DP-6818 inject
Напряжение питания, В………………………………………………………………………..
230
Мощность двигателя, кВт………………………………………………………………………..
0,75
Рабочее давление, макс., бар………………………………………………………………………..
5 — 200
Подача насоса, л/мин…………………………………………………………………………
2,0
Oбъем бункера, л…………………………………………………………………………
5
Вес, кг…………………………………………………………………………
23
Подробнее
Мембранный насос Desoi LE-202
Напряжение питания, В………………………………………………………………………..
230
Мощность двигателя, кВт………………………………………………………………………..
0,75
Рабочее давление, макс., бар………………………………………………………………………..
5 — 200
Подача насоса, л/мин…………………………………………………………………………
2,1
Oбъем бункера, л…………………………………………………………………………
5
Вес, кг…………………………………………………………………………
22
Подробнее
Мембранный насос Desoi LE-303
Напряжение питания, В………………………………………………………………………..
230
Мощность двигателя, кВт………………………………………………………………………..
0,75
Рабочее давление, макс., бар………………………………………………………………………..
5 — 200
Подача насоса, л/мин…………………………………………………………………………
2,1
Oбъем бункера, л…………………………………………………………………………
5
Вес, кг…………………………………………………………………………
22
Подробнее
Поршневой
Существует два вида: роторный и поршневой. Разглядывать устройство роторного ни к чему. Во-1-х, это не имеет смысла, потому что здесь будет рассказываться о том, как сделать поршневой бетононасос. А во-2-х, роторный насос сложен в собственном устройстве и разбор его конструкции займет много времени.

Схема поршневого насоса.
Поршневой бетононасос состоит из 3-х огромных деталей, любая из которых делает свою функцию. Этими деталями являются:
- поршень; цилиндр; привод.
Любая из этих деталей состоит из наиболее маленьких составляющих, о которых будет говориться дальше.
Цилиндр представляет собой емкость, в которую интегрированы два оборотных клапана. Конкретно они отвечают за всасывание бетонной консистенции из приемника, перекачку ее в бетоновод. Таковой процесс вероятен благодаря работе поршня.
На данный момент будет наиболее тщательно рассмотрена связь работы поршня и цилиндра. При запуске бетононасоса начинает работать (двигаться) поршень. Производя 1-ое движение, поршень делает разрядку в цилиндре, что дозволяет бетонной консистенции попасть в приемник. Поршень продолжает двигаться и, дойдя до конечной точки собственного движения, начинает ворачиваться в начальное положение. Этот процесс делает давление, которое выталкивает смесь в бетоновод, по которому бетон попадает на место заливки.
Схема поршневого насоса однобокого деяния.
Промышленные употребляют для собственной работы два поршня, что наращивает их мощность и усложняет технологические характеристики. Такое положение дел приемлемо для масштабных строек, где высочайшая стоимость двухпоршневого массивного бетононасоса окупится в процессе работы.
Применительно к личному цельному строительству таковой подход неприемлем. Как уже говорилось, покупка – это драгоценное наслаждение. Потому единственным выходом остается изготовка самодельного насоса с одним поршнем. Можно, естественно, испытать сделать двухпоршневый бетононасос. Но это глупо, потому что, во-1-х, данные работы будут сложны на техническом уровне, а во-2-х, для личного цельного строительства полностью довольно однопоршневого.
Какие конструкции бетононасосов существуют
По типу привода бетононасосы бывают гидравлическими и механическими. По конструкции разливают беспоршневые и поршневые. По способу передвижения бетононасосы бывают стационарными и мобильными. Несмотря на кажущееся разнообразие, сегодня в строительстве используют два типа бетононасоса: поршневой (с гидравлическим приводом) и роторный (с механическим приводом).
В роторном агрегате смесь подается за счет роликов, которыми оснащен корпус ротора: они в процессе вращения давят на подающий рукав и бетон выбрасывается оттуда. Но самостоятельно сделать такой бетононасос очень трудно, так как конструкция роторного типа сложная, поэтому обычно своими руками собирают поршневые агрегаты.

Поршневая установка включает три основных детали:
- Поршень – приводит в действие цилиндр
- Цилиндр – деталь, ответственная за забор смеси из бункера и ее перекачку
- Привод – обычно выбирают гидравлический или электромеханический
Чаще всего используются однопоршневые агрегаты, так как двухпоршневые предполагают сложную конструкцию. Эксплуатация двухпоршневых агрегатов осуществляется благодаря электрическому или дизельному двигателю, который преобразовывает энергию гидравлическую в механическую.

Цилиндр и поршень
Как уже говорилось выше, основными элементами поршневого бетононасоса являются цилиндр и собственно сам поршень. При их изготовлении нужно быть особенно внимательными, ведь от этих деталей, от их работы зависит и работа самого бетононасоса.
Вот несколько обязательных требований к цилиндру и поршню бетононасоса. Диаметр цилиндра не должен быть меньше значения в 400 миллиметров. Касательно поршня нужно отметить, что его рабочий ход не должен быть меньше полуметра. Такие значения введены не зря.
Дело в том, что бетононасос с небольшим цилиндром и маленьким рабочим ходом поршня более подвержен износу. Такой бетононасос делает большее количество циклов для перекачки бетона, чем это делал бы аналогичный агрегат, но с большим рабочим ходом поршня и большим диаметром цилиндра.
Процесс изготовления
Схема размеров стационарного бетононасоса.
Элементы, которые нужны:
- поршень;
- цилиндр;
- передаточный механизм;
- асинхронный электродвигатель;
- редуктор с понижающим передаточным числом;
- сварная объемная металлическая рама;
- клапаны из высокопрочной стали;
- цемент;
- вода;
- машинное масло;
- пластиковые трубы;
- жесткие трубы.
Изготовление подобной конструкции своими руками является сложным и недешевым проектом. В связи с этим, прежде чем приступать к данным работам, необходимо еще раз взвесить собственные возможности и силы, после чего подсчитать, насколько оправданными будут понесенные затраты. В некоторых случаях гораздо целесообразнее будет взять насос небольших размеров в аренду.
Перед тем как приступить к изготовлению подобного устройства, необходимо составить его эскиз и чертеж. Если нет навыков проектирования, есть возможность пользоваться готовыми чертежами
К чертежам, которые были скачаны из Интернета, необходимо относиться с определенной осторожностью: вполне возможно, что насос, который был изготовлен по выбранным чертежам, работал не очень эффективно. Рекомендуется найти и ознакомиться с отзывами домашних умельцев, которые имеют опыт изготовления подобной конструкции по выбранным схемам
Основным узлом бетононасоса является рабочий цилиндр с поршнем. В процессе изготовления данного узла стоит учитывать, что диаметр его должен быть не меньше 400 мм. Рабочий ход поршня должен составлять не меньше 0,5 м. Если это не учесть, может увеличиться количество рабочих циклов с перекачки, а это приведет к быстрому износу механизма.
Поверхности цилиндра и поршня, которые соприкасаются, должны иметь низкую шероховатость и высокую степень точности. Это способно не только повысить эффективность работы, но и увеличить срок его службы.
Привод лучше всего использовать электромеханический. Гидравлический привод более дорогой и сложный в изготовлении. Для привода понадобится трехфазный асинхронный электродвигатель, передаточный механизм, который преобразовывает вращательные движения в поступательные, и редуктор с понижающим передаточным числом.
К механизму нужно присоединить шкворень, который передает поступательное движение к поршню. В качестве станины есть возможность использовать сварную объемную раму из металла
Особое внимание необходимо уделить обратным клапанам. Для изготовления их нужно использовать легированную высокопрочную сталь, которая способна выдержать многократные циклы бетонной перекачки
Для пусковой смеси есть возможность использовать цемент, который сильно разведен в воде, с добавлением машинного масла. Бетоноводы понадобятся для того, чтобы перекачивать бетон от насоса к месту заливки. Они изготавливаются из комбинации пластиковых и жестких труб большого диаметра.
Насос шнековый для инъектирования минеральных составов SL-720.
Профессиональный мощный, высокопроизводительный насос героторного типа разработан для инъектирования больших объемов кирпичной и бутовой кладки, скважин большого диаметра и глубины, цементации грунтов.
Технические характеристики:
Преимущества
- Износостойкая регулируемая героторная пара
- Точная установка давления и производительности
- Может применяться в качестве машины для насесения штукатурных смесей с зернистостью до 4,0 мм
- Высокая производительность, большая мощность
- Небольшая ширина (73 см.) позволяет осуществлять перемещение через узкие дверные проемы
Используемые материалы
- Микроцементы
- Штукатурные растворы на цементной, гипсовой основе
- Силикатные растворы
- Цементные растворы
- Бентонитовые растворы
Комплект поставки SL-720: поставляется в комплекте: насос в комплекте, шаровой кран, манометр 0-20 бар, 10-ти метровый шланг 18 мм, насадка для нанесения штукатурных смесей
| Тайвань |
Как сделать измельчитель из подручных материалов
Шредер из болгарки и пылесоса

Металлический столик располагается на деревянной стационарной основе. Также следует установить защитный кожух, который предотвратит обратное движение измельченных веток.
Такой простой вариант садового измельчителя своими руками, видео наглядное тому подтверждение, можно легко создать на своей даче, без сложных этапов работы и приобретения дополнительных материалов.

Для изготовления измельчителя можно использовать детали от старых электроинмтрументов и бытовой техники
Шредер из стиральной машины
Садовый измельчитель можно создать из старой стиральной машинки. Для этого понадобится корпус и двигатель от техники, старая пила, ведро и другие детали, и инструменты для крепления конструкции.
Шредер из дрели
Еще одним элементарным изобретением является самодельный шредер с помощью электрической дрели. Принцип действия такого механизма напоминает овощерезку.

В ведро забрасывается мягкое сырье и запускается электрическая дрель. После тщательного измельчения до нужного состояния мульча извлекается. Данная конструкция рассчитана на небольшой объем перерабатываемых отходов.

Основные составные части системы

Устройство бетоновода. Бетоновод состоит из цельных стальных труб из коррозионно-стойкого металла. Рычажные замки соединяют трубы. Если участок прокладки трубопровода прямолинеен, используются прямые звенья, .если есть изгибы – коленные. С помощью соединительного патрубка начало системы транспортировки бетона монтируется к бетононасосу через его фланец на выходе.
На бетоноводе закрепляется игольчатый клапан. Он стопорит раствор в случае остановки установки. Клапан монтируется перед изгибом трубопровода. У бетоновода есть быстроразъемная секция для разъединения трубопровода в случае необходимости. Наличие этой секции существенно сокращает затраты труда и длительность ремонта. К бетоноводу также есть специализированные устройства для очистки.
Типы агрегатов
Условно устройства разделяются на 2 категории: с механическим узлом или гидравлическим элементом. Бетононасос роторный и поршневой имеют свои эксплуатационные преимущества и недостатки.
Работа поршневой системы
Поршневые системы работают по одинаковому принципу во всех сферах использования. На этапе движения вниз происходит всасывание определённого объёма жидкости и бетоноприёмника, на втором цикле работы выполняется выталкивание раствора в передаточный рукав. По трубопроводу смесь поступает к рабочему участку.

Поршневой бетононасос с механическим приводом
Для работы обязательно требуется использование шиберного затвора, который открывает бетоноприёмник на этапе всасывания и закрывает в процессе выталкивания. Затвор регулирует направление тока жидкости. В процессе тестирования обязательно добавление машинного масла в рабочую смесь.
Конструкция включает механический привод или гидравлическую систему. Современные бетононасосы работают с гидравликой, так как система высокопроизводительна, она приводит к образованию большего давления и повышению мощности насоса. Если сравнивать с шатунным узлом, гидравлическая система обеспечивает больший диапазон хода поршня и придаёт плавность движениям. Потенциальной проблемой является неплотное соприкосновение поршня с камерой. Микроскопические частицы цемента проникают между поршнем и цилиндром, многократно ускоряя износ.
Устройства с 1 цилиндром практически не используются, так как приводят к сильно выраженной пульсации подачи раствора. Преимущественно в систему встраивается два цилиндра, они работают попеременно – так подача бетона происходит плавно и непрерывно. Также, механизм с двумя цилиндрами меньше изнашивается.
Работа роторной системы
Использование роторных бетононасосов встречается намного чаще, так как безпоршневые системы надёжнее. В основе лежит ротор с закреплёнными роликами (покрываются резиной). В процессе вращения ротора приходят в движение ролики, которые передают смесь из бетоноприёмника в рабочий шланг
Важное достоинство – функция реверса для удаления карманов воздуха и заторов

Конструкция роторного бетононасоса
Эксплуатация оборудования и ремонт проще. Уязвимое место конструкции – износ шланга или уплотнителей – обе неисправности легко устраняются собственноручно. К другим недостаткам относится невысокая мощность (в сравнении с поршневым типом) и плохая переносимость крупного наполнителя.
Существуют ещё шнековые насосы для перекачивания бетонного насоса, но они уступают по долговечности и производительности. Их принцип работы элементарен: в сквозной камере размещается шнек, который в ходе вращения вытесняет вещество.
Роторные механизмы представлены во множестве модификаций, главным различием является способ размещения: стационарные и автомобильные.
Как устроен бетононасос, принцип работы

Раствор нужно доставить на место заливки. Бетононасос обеспечивает подачу смеси через трубу на место. Источником энергии может быть мотор или гидравлический привод. Первый вариант дешевле, второй – предусматривает более высокую мощность. Непосредственно движение происходит благодаря поршневой системе, вращению шнека или ротора.
Бетононасос состоит из следующих частей:
- Труба, через которую раствор поступает на место.
- Узел, продвигающий состав по трубе. Это камера, которая соответствует типу механизма. Она устроена по-разному у поршневых, шнековых или роторных бетононасосов.
- Мотор или гидравлическая система для движения раствора по трубе.
При производстве смеси его объём увеличивается. После заполнения доступного объёма материал вытесняется в трубу и движется по ней. Постепенно бетонный раствор достигает нужного пункта, освобождая место внутри трубопровода. Оно тут же заполняется новой порцией материала. Бетонный раствор может поступать непрерывно до тех пор, пока это необходимо.
Для чего нужно приспособление и как оно устроено?
Для каких целей применяется электропастух:
Самодельный электропастух включает несколько элементов, основным из которых выступает трансформатор. Слои сердечника его обмотки разделены картоном для увеличения зазора.
Для намотки применяется провод ПЭВ 0,18. Нужные значения электрической емкости получают с помощью специальных конденсаторов, рассчитанных для напряжения конкретного уровня.
Проволока без изоляции закрепляется на изоляторах, установленных на опорах из металла, пластика или дерева.
Источник импульсов питается напряжением 220 вольт.
Конструкция состоит из:
- заземления в виде шеста или проволоки;
- молниеотвода, предотвращающего выход источника питания из строя во время грозы;
- проводников соответствующего типа, изоляторов;
- генератора напряжения.

Установка всей изгороди не требует помощи специалистов. При покупке готового набора нужно отдельно приобретать опорные столбики.
Руководство по изготовлению насоса своими силами
Хотя покупка бетононасоса доступна, его можно изготовить самому. Он будет дешевле и с меньшей мощностью. При аккуратно выполненной работе и правильной эксплуатации бетононасос окажется полезным. Обычно выбирают поршневое устройство, а не использование шнека.
Из чего сделать поршневой бетононасос своими руками

Для работы нужно подготовить схему бетононасоса. Чтобы приступить к созданию устройства потребуются:
- Стальной лист толщиной 5 мм. Из него изготавливают поршневую камеру.
- Необходимо выбрать цилиндр и поршень.
- Определяются с типом механизма. Это может быть мотор или гидравлический привод. Первый легче монтировать, второй — более производительный.
- Подбирают редуктор, который обеспечит преобразование вращения оси мотора в поступательные движения поршня.
- Делаются обратные клапаны. Их изготавливают из высококачественной стали.
- Шкворень нужен для присоединения к механизму.
- Сварная рама станет основой механизма.
Круглые детали делают на токарном станке, дотачивая до нужных размеров. Затем с помощью шлифовальных кругов тщательно подгоняют под размер труб. Клапаны присоединяют шуруповертом.
Что нужно знать для изготовления поршневой группы и цилиндра
Чтобы сделать цилиндровый механизм, потребуется выбрать трубу или заготовку, диаметром не меньше 400 мм, при этом длина хода должна составлять 50 см или больше. Детали не могут иметь шероховатостей. Если эти условия не выполнить, то шланг для оборудования не выдержит нагрузку, что приведет к раннему износу бетононасоса.
Этапы работы

Бункер поршневого бетононасоса
Этапы работы над созданием бетононасоса:
- Нужно проработать чертеж будущего механизма. Иногда можно взять готовые чертежи при условии, что они подходящие. Необходимо выбрать нужный вид цилиндра. Учитывают, что ход поршня должен быть не менее 0,5 м, а диаметр такой, чтобы обеспечивалась подходящая мощность. Она будет тем выше, чем уже диаметр поршня.
- Проводится подгонка цилиндров и поршня для их точного прилегания друг к другу. От тщательности подготовки зависит качество сборки.
- Выбрать тип привода. Электромеханический дешевле и проще монтируется, гидравлический более производительный и дорогой.
- Выполняется установка редуктора. Этот узел преобразует вращательное движение в поступательное.
- Производится монтаж шкворня. Наиболее прочным будет тот, который сделан из легированной стали. Это камера с обратными клапанами. В неё поступает раствор, который затем выталкивается в трубопровод. При этом на каждом этапе процесса клапаны блокируют одну из выходящих в камеру труб.
Процедура сборки выполняется в такой последовательности:
- Сначала делается основа конструкции.
- На неё устанавливают двигатель.
- К нему прикручивают редуктор, закрепляемый болтами.
- Выполняется сборка и установка преобразовательного узла.
- Этот механизм соединяют с поршнем и редуктором.
- К электрическому двигателю подключают кабель.
Выполнив каждое действие точно и аккуратно, в итоге можно получить самостоятельно изготовленный бетононасос.
Созданное своими руками оборудование станет надёжным помощником на стройке. При аккуратной работе и точной подгонке деталей можно сделать бетононасос, который прослужит владельцу много лет.
Как изготовить самодельную штукатурную станцию своими руками
Как сделать бетонную лестницу своими руками
Пластифицирующие добавки для бетона и их виды
Изготовление хоппер-ковша для штукатурки своими руками
Материалы и подготовка основных деталей
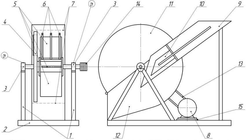
Понадобится масштабированный чертеж, а также схема движения рабочих деталей. Последняя поможет определить требуемую длину штока, размер кривошипа и поршневой ход (его обычно принимают равным 60-90 см). После этого нужно приобрести или сделать самостоятельно все элементы механизма:
1. Для гидравлического стакана потребуется толстостенная труба диаметром 350-400 мм.
2. Обратные клапаны и головку поршня лучше сделать из легированной стали, стойкой к щелочной среде.
3. В качестве привода берут асинхронный двигатель и понижающий редуктор – для вязкого бетона скорость вращения роторного вала слишком велика.

Характеристики бетононасоса должны соответствовать условиям транспортировки: высоте подачи и длине трубопровода, к которому подключен агрегат. В зависимости от мощности двигателя и передаточного отношения редуктора, а также полезного объема гидравлической камеры, можно получить производительность до 100-150 м 3 /ч с перекачкой раствора на расстояние до 40 м.
На шиберах следует остановиться особо, поскольку подходящих вариантов здесь несколько:
Дополнительно понадобится лист нержавейки или обычного железа толщиной до 6 мм, а также металлический профиль (уголок, швеллер) для корпуса. Если бетононасос будет перевозиться с места на место, его устанавливают на колесную базу.

Категории промышленного оборудования
Согласно общепринятой спецификации, принято подразделять несколько категорий бетононасосной техники, в частности:
- Стационарный вариант. Подойдёт для больших производственных строительных площадок, при этом оборудование может работать при больших нагрузках и объемах, не взирая на сложность строительного процесса.
- Мобильный вариант. Этот тип предпочтительней для тех, кто занимается несколькими строительными объектами подряд. В этом случае, небольшой по размерам бетононасос можно с лёгкостью перевозить на транспортном средстве с одной стройплощадки на другую.
Помимо основных групп класса бетононасосной техники имеются различия по производительности оборудования, а также по способу питания и подключения. В некоторых случаях имеет место различие подачи по категориям и типам загружаемого бетона. В целом создавая бетононасос своими руками, мы увидим, какие для оборудования имеются технические свойства:
- Вакуумный тип. Подача материала происходит при помощи выдавливания готового переработанного материала из лотка под воздействие вакуумного насоса.
- Поршневой тип. Подача строительного материала осуществляется при взаимодействии элементов поршневой группы.
Общая классификация оборудования способна работать как в горизонтальном положении, так и при вертикальной установке спецоборудования.
Применение в строительстве
Бетононасос нужен для подачи смеси к месту ее использования, и также для выполнения работ в труднодоступных местах. Агрегат существенно ускоряет процесс работы, поэтому эксплуатируется везде, где используется бетон: строительство жилых и промышленных зданий, частных и многоэтажных домов, мостов, тоннелей и т.д.

Производимость бетононасоса может составлять 20-150 м3/час. Работа с устройством простая: бетон из емкости поступает на место, автоматически перекачиваясь в нужном режиме. Оборудование можно эксплуатировать круглый год – для этого есть система подогрева солярки, может быть обеспечена теплоизоляция.
Обслуживание бетононасосов простое: достаточно после каждого приготовления смеси использовать промывочный насос с водяным пистолетом. Работать агрегат может круглосуточно.




























